Skip to content Skip to sidebar Skip to footer

2004 Vw Passat Cooling System Diagram

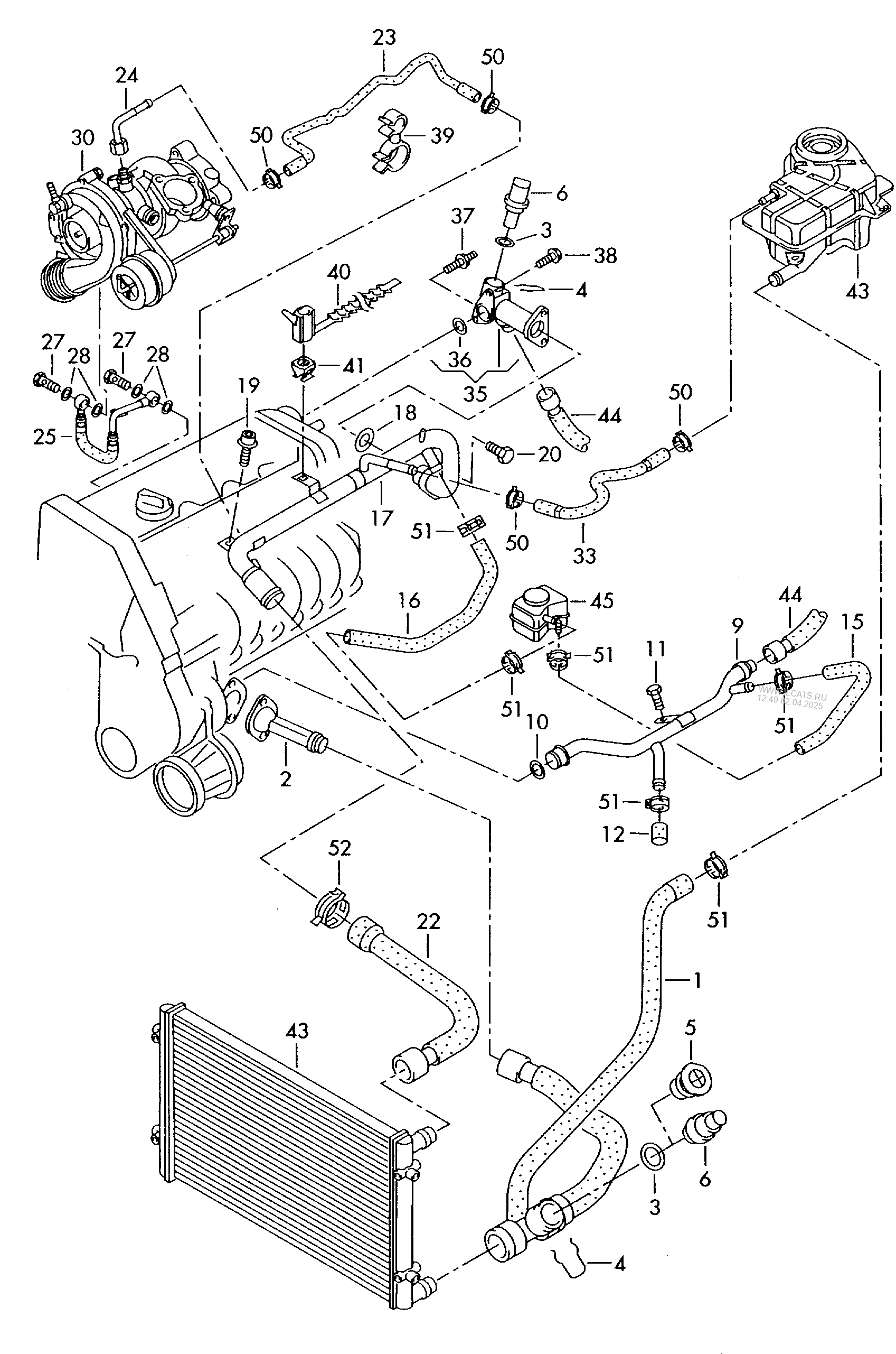
Radiator Components For 2004 Volkswagen Passat Vw Parts Vortex

Radiator Components For 2004 Volkswagen Passat Vw Parts Vortex

2004 vw passat cooling system diagram. 1998-2004 Audi A6 28L 30V V6 C5 Chassis US 2000-2004 Audi A6 27T 30V V6 C5 Chassis. Volkswagen Passat 2004 Engine Coolant Expansion Tank by Febi. Volkswagen Passat owners have reported 53 problems related to engine cooling system under the engine and engine cooling category.

This video will go over instructions for bleeding the air out of the cooling system of your Volkswagen Beetlebug Volkswagen Jetta Volkswagen New Beetle Vo. This is why you remain in the best website to look the unbelievable ebook to have. Use only phosphate-free coolant G 012 A8F A4 PURPLE COLORED.

Malinda Order the routing sticker through the dealer if available or go to auto recycler and take picture down load and print laminate and stick on your car. I need a cooling system diagram for a 2001 passat my girlfriend overheated her car seem like thermostat and we fixed it but now after replacing it still having the same problem it overheats fastbyron. Please also check out the statistics and reliability analysis of the 2003 Volkswagen Passat based on all problems reported for the 2003 Passat.

Box 830414827 KingswayBurnaby BCV5H 0A4CanadaEXOVCDS Swag. 2002 volkswagen passat cooling system problems with 10 complaints from passat owners. Diagram 2004 Sportsman 500 Ho Wiring Full Version Hd Quality Diagramex Scuoleamichedellasalute It.

Shop 2004 Volkswagen Passat Radiator Coolant Hose Upper. Volkswagen Work Manuals Passat L4 1 8l Turbo Awm 2004 Relayodules Accessories And Optional Equipment Alarm Module Vehicle Antitheft Component Information Diagrams Diagram Instructions. Cooling system parts for the 1999-2005 Mk4 VW 4 cylinder Golf Jetta and New Beetle.

Passat B5 Wiring Diagram. Assuming you have an ALH engine the ECT is on the drivers side of the head on the back side. DONOTINTERCHANGEORMIXolder G11ZVW 237 105GREEN COLOREDThis can result in serious damage to the engineHowever it may be mixed with ZVW 237 G12 PINK COLORED Frost protection is required down.

Volkswagen jetta gli 2004 radio gl cars 2000 05 main wiring cooling fan cruise control gls hazard switch help reading diagram vw tdi car stereo audio passat b5 gp how to find new beetle fuse box block 2003 monsoon for polo uk sportsman 500 ho 2002 1 8. Shop 2004 Volkswagen Passat Radiator Coolant Hose Front Rear Lower.

Coolant Cooling System Passat Pa 2004 Year Volkswagen Usa 121052

Coolant Cooling System Passat Pa 2004 Year Volkswagen Usa 121052

Coolant Cooling System Vw Passat Variant Santana

Coolant Cooling System Vw Passat Variant Santana

Coolant Cooling System Passat Pa 2004 Year Volkswagen China Svw 121061

Coolant Cooling System Passat Pa 2004 Year Volkswagen China Svw 121061

Volkswagen Passat Variant 2003 2005 Coolant Cooling System Vag Etka Online Nemiga Com

Volkswagen Passat Variant 2003 2005 Coolant Cooling System Vag Etka Online Nemiga Com

Volkswagen Passat Variant 2003 2005 Coolant Cooling System Vag Etka Online Nemiga Com

Volkswagen Passat Variant 2003 2005 Coolant Cooling System Vag Etka Online Nemiga Com

Volkswagen Passat Variant 2006 2007 Coolant Cooling System Vag Etka Online Nemiga Com

Volkswagen Passat Variant 2006 2007 Coolant Cooling System Vag Etka Online Nemiga Com

Volkswagen Workshop Manuals Passat Gls Wagon V6 V6 2 8l Atq 2001 Engine Cooling And Exhaust Cooling System Radiator Hose Component Information Diagrams

Volkswagen Workshop Manuals Passat Gls Wagon V6 V6 2 8l Atq 2001 Engine Cooling And Exhaust Cooling System Radiator Hose Component Information Diagrams

Need Coolant Routing Help Vw Vortex Volkswagen Forum

Need Coolant Routing Help Vw Vortex Volkswagen Forum

Need Coolant Routing Help Vw Vortex Volkswagen Forum

Need Coolant Routing Help Vw Vortex Volkswagen Forum

Slow Coolant Leak Under Car A 2 8 Passat At The Cross Member Where Is It Coming From Have Checked Everywhere

Slow Coolant Leak Under Car A 2 8 Passat At The Cross Member Where Is It Coming From Have Checked Everywhere

7549991 Saab Stud Saab Parts From Esaabparts Com

7549991 Saab Stud Saab Parts From Esaabparts Com

Coolant Leak From The Front Of The Engine Not The Thermostat Help Vw Tdi Forum Audi Porsche And Chevy Cruze Diesel Forum

Coolant Leak From The Front Of The Engine Not The Thermostat Help Vw Tdi Forum Audi Porsche And Chevy Cruze Diesel Forum

2000 2006 Volkswagen Engine Coolant Hose 1j0 121 086 Br Great Lakes Volkswagen Parts

2000 2006 Volkswagen Engine Coolant Hose 1j0 121 086 Br Great Lakes Volkswagen Parts

Volkswagen Passat Variant 2006 2007 Coolant Cooling System Vag Etka Online Nemiga Com

Volkswagen Passat Variant 2006 2007 Coolant Cooling System Vag Etka Online Nemiga Com

Solved I Have A 2004 Vw Passat 1 8t I Have Excessive Fixya

Solved I Have A 2004 Vw Passat 1 8t I Have Excessive Fixya

2004 Volkswagen Passat Serpentine Belt Routing And Timing Belt Diagrams

2004 Volkswagen Passat Serpentine Belt Routing And Timing Belt Diagrams

Vw Genuino Sensor De Temperatura Do Liquido De Arrefecimento Do Motor Oem 06a 919 501 A Se Encaixa Para Audi Vw Skoda Assento 06a 919 501 Temperature Coolant Sensorsensor Vw Aliexpress

Vw Genuino Sensor De Temperatura Do Liquido De Arrefecimento Do Motor Oem 06a 919 501 A Se Encaixa Para Audi Vw Skoda Assento 06a 919 501 Temperature Coolant Sensorsensor Vw Aliexpress

2000 2005 Volkswagen Passat Engine Coolant Hose 06b 121 058 Queensboro Volkswagen

2000 2005 Volkswagen Passat Engine Coolant Hose 06b 121 058 Queensboro Volkswagen

New Upper Radiator Coolant Hose Audi Q7 Volkswagen Touareg V6 3 6l Genuine Ebay

New Upper Radiator Coolant Hose Audi Q7 Volkswagen Touareg V6 3 6l Genuine Ebay

2002 Volkswagen Passat Coolant Temperature Sensor Location I Need

2002 Volkswagen Passat Coolant Temperature Sensor Location I Need

Mystery Coolant Leak From Rear 1 8l Engine Volkswagen Passat Forum

Mystery Coolant Leak From Rear 1 8l Engine Volkswagen Passat Forum

Coolant Hose Vw Audi Eos Golf R32 Gti Rabbit Jetta Passat 1k0122447ed 22 86 Picclick

Coolant Hose Vw Audi Eos Golf R32 Gti Rabbit Jetta Passat 1k0122447ed 22 86 Picclick

Genuine Vw Passat 4motion Coolant Pipe With Coolant Hose 03l122157h Ebay

Genuine Vw Passat 4motion Coolant Pipe With Coolant Hose 03l122157h Ebay

Vw

Vw

Hoses Lines For 2006 Volkswagen Passat Volkswagen Oshkosh

Hoses Lines For 2006 Volkswagen Passat Volkswagen Oshkosh

Radiator Components For 2004 Volkswagen Passat Oem Vw Parts Direct

Radiator Components For 2004 Volkswagen Passat Oem Vw Parts Direct

Volkswagen Passat Variant 1997 2001 Coolant Cooling System Vag Etka Online Nemiga Com

Volkswagen Passat Variant 1997 2001 Coolant Cooling System Vag Etka Online Nemiga Com

16v Engine Water Hoses

16v Engine Water Hoses

Hoses Lines For 2004 Volkswagen Touareg Vw Parts Vortex

Hoses Lines For 2004 Volkswagen Touareg Vw Parts Vortex

Chrysler Oem 01 03 Sebring 2 7l V6 Radiator Air Guide Left 4805699ab Walmart Com

Chrysler Oem 01 03 Sebring 2 7l V6 Radiator Air Guide Left 4805699ab Walmart Com

Coolant Cooling System Vw Passat

Coolant Cooling System Vw Passat

Volkswagen Passat B4 1995 1996 Motronic Ignition System Servicing Eng Manualzz

Volkswagen Passat B4 1995 1996 Motronic Ignition System Servicing Eng Manualzz

Vr6 Coolant System Diagram

Vr6 Coolant System Diagram

8d0121251bc Genuine Vw Radiator Fast Shipping Available

8d0121251bc Genuine Vw Radiator Fast Shipping Available

Front Suspension For 2004 Volkswagen Passat Vw Parts Vortex

Front Suspension For 2004 Volkswagen Passat Vw Parts Vortex

Aeb Coolant Flow Diagram Needed Pls Vw Vortex Volkswagen Forum

Aeb Coolant Flow Diagram Needed Pls Vw Vortex Volkswagen Forum

How To 2 0 Thermostat And Coolant Flush

How To 2 0 Thermostat And Coolant Flush

Cooling System 101 Tdiclub Forums

Cooling System 101 Tdiclub Forums

Radiator Components For 2003 Volkswagen Jetta Vw Parts Vortex

Radiator Components For 2003 Volkswagen Jetta Vw Parts Vortex

Rough Idle On Passat 1 8t 2003 Engine Code Awm Volkswagen Passat Forum

Rough Idle On Passat 1 8t 2003 Engine Code Awm Volkswagen Passat Forum

Radiator Components For 2005 Volkswagen Phaeton Oem Vw Parts Direct

Radiator Components For 2005 Volkswagen Phaeton Oem Vw Parts Direct

Genuine Audi Vw A4 Avant S4 Quattro Cabrio A6 06b121101e Flange Mangueira Do Refrigerante Ebay

Genuine Audi Vw A4 Avant S4 Quattro Cabrio A6 06b121101e Flange Mangueira Do Refrigerante Ebay

Volkswagen Coolant Hose 7l6121058ag Lllparts

Volkswagen Coolant Hose 7l6121058ag Lllparts

Volkswagen Passat B5 Manual A C Heating And A C Components Eng Manualzz

Volkswagen Passat B5 Manual A C Heating And A C Components Eng Manualzz

The 6 Most Common Vw 1 8t Engine Problems Vw Tuning

The 6 Most Common Vw 1 8t Engine Problems Vw Tuning

What Is The Exact Coolant Flow Path Volkswagen Passat Forum

What Is The Exact Coolant Flow Path Volkswagen Passat Forum

Volkswagen Seat Skoda Coolant Hose 3c0121058ar Lllparts

Volkswagen Seat Skoda Coolant Hose 3c0121058ar Lllparts

Audi A3 Engine Wiring Diagram And Audi A Engine Diagram Wiring Diagram Audi A3 Audi Useful Life Hacks

Audi A3 Engine Wiring Diagram And Audi A Engine Diagram Wiring Diagram Audi A3 Audi Useful Life Hacks

1

1

Download Free Volkswagen Passat 2004 Cooling System Diagram expected engine life was 100000 miles rather than double and triple the expectation that you see today and an everyday hassle especially in warm climates was being the victim of.

Also please check out the statistics and reliability analysis of Volkswagen Passat based on all problems reported for the Passat. Vw Passat B3 B4 Wiring Diagrams Car Electrical Diagram. Would appreciate a some complete cooling system diagrams for a 2004 vw gti 18T. Shop 2004 Volkswagen Passat Radiator Coolant Hose Upper. Assuming you have an ALH engine the ECT is on the drivers side of the head on the back side. Download Free Volkswagen Passat 2004 Cooling System Diagram expected engine life was 100000 miles rather than double and triple the expectation that you see today and an everyday hassle especially in warm climates was being the victim of. 2002 volkswagen passat cooling system problems with 10 complaints from passat owners. This is why you remain in the best website to look the unbelievable ebook to have. Malinda Order the routing sticker through the dealer if available or go to auto recycler and take picture down load and print laminate and stick on your car.


Flexible hose that is Cooling System - OEM Volkswagen Part 4B0121055J 4B0-121-055-J. Flexible hose that is part of the COOLING SYSTEM - OEM Volkswagen Part 8D0121101AD 8D0-121-101-AD. The most recently reported issues are listed below. Volkswagen jetta gli 2004 radio gl cars 2000 05 main wiring cooling fan cruise control gls hazard switch help reading diagram vw tdi car stereo audio passat b5 gp how to find new beetle fuse box block 2003 monsoon for polo uk sportsman 500 ho 2002 1 8. Would appreciate a some complete cooling system diagrams for a 2004 vw gti 18T. E 2004 Volkswagen of America Inc. Box 830414827 KingswayBurnaby BCV5H 0A4CanadaEXOVCDS Swag.

Post a Comment for "2004 Vw Passat Cooling System Diagram"